Купить автономный воздушный отопитель ПЛАНАР 44D-24-GP-S (4 КВТ)
Воздушный отопитель ПЛАНАР 44D-24 - это современный, 4 кВт и лучший на сегодняшний день автономный дизельный воздушный отопитель кабин и кунгов по соотношению "цена/качество". Качество и эффективность. Современный прямоугольный корпус.Японская свеча KUOSERA как на немецких отопителях.
- Тип топлива = дизельное топливо
- Напряжение = 24 В
- Теплопроизводительность = от 1 до 4 кВт
- Потребляемая мощность = от 10 до 58 Вт
- Расход топлива, не более = 0.5 л/ч
- Время запуска с прогревом = 230 - 350 сек.
- Объем нагреваемого воздуха = от 70 до 120 куб.метров
Купить автономный отопитель ПЛАНАР 44D-24-GP-S (4 КВТ) в Нижнем Новгороде
Модель ПЛАНАР 44D-24-GP-S (4 КВТ) с префиксом “GP” отличается наличием японской свечи и герметичных разъёмов.
Модель воздушного отопителя ПЛАНАР 44D-24-GP-S (4 КВТ), не имеющая аналогов российского производства. В отопителе применены собственные запатентованные разработки камеры сгорания, новые технологии управления запуском и свеча накаливания японского производства. Российский аналог импортных отопителей WEBASTO и EBERSPACHER.
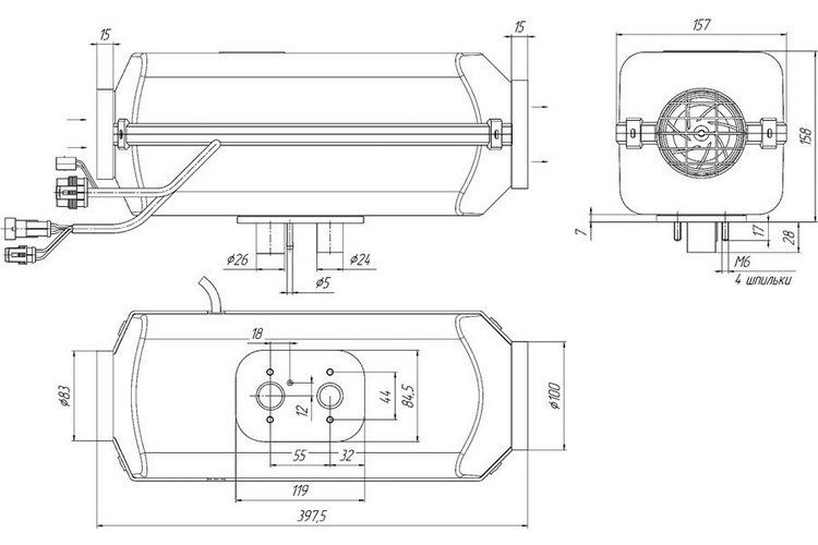
По габаритным размерам ПЛАНАР 44D-24-GP-S (4 КВТ) сопоставим с отопителями импортного производства, также подходит по штатным местам крепления для замены отопителей других марок, в случае их дорогостоящего ремонта. Монтажный комплект включенный в состав упаковки включает все самое необходимое и позволяет установить отопитель почти на любое автотранспортное средство.
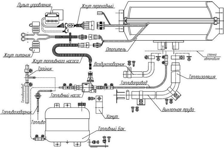
Автономный отопитель салона (кабины) ПЛАНАР 44D-24-GP-S (4 КВТ) включает в себя:
- нагреватель
- топливный насос
- устройство пуска и индикации
- жгуты проводов для соединения элементов отопителя с аккумуляторной батареей автомобиля.
Отопитель ПЛАНАР 44D-24-GP-S (4 КВТ) работает независимо от автомобильного двигателя. Питание отопителя топливом и электроэнергией осуществляется от автотранспортного средства. Принцип действия отопителя при обогреве основан на разогреве воздуха, принудительно вентилируемого через теплообменную систему отопителя. В качестве источника тепла используются газы от сгорания топливной смеси в камере сгорания. Полученное тепло нагревает стенки теплообменника, который с внешней стороны обдувается воздухом. Проходя через ребра теплообменника, воздух нагревается и поступает в салон автомобиля или помещение АТС, аналогично отопителям ВЕБАСТО.
Сразу после включения ПЛАНАР 44D-24-GP-S (4 КВТ) начинается тестирование и контроль элементов автономного отопителя. При исправном состоянии отопителя начинается процесс розжига. Вначале производится продувка камеры сгорания, затем свеча накаливания разогревается до нужной температуры. Затем поджигается топливо. После того, как горение стабилизируется, свеча накаливания отключается.
Управление отопителем осуществляется из кабины ( кунга) или по дистанционному управлению. Подходит для длительной работы с минимальным потреблением топлива и электроэнергии. Обеспечивает комфортный и экономичный отдых.
Питание отопителя ПЛАНАР 44D-24-GP-S (4 КВТ) может осуществляться из топливного бака автомобиля или из топливного бака, входящего в комплектацию отопителя Планар
Технические характеристики ПЛАНАР 44D-24-GP-S
| Планар 44Д-24-GP | Режимы | ||
| Технические характеристики | Сильный | Малый | |
| Теплопроизводительность, кВт | 4 | 1 | |
| Расход топлива, л/час | 0,514 | 0,12 | |
| Потребляемая мощность отопителя, Вт | 58 | 10 | |
| Количество нагреваемого воздуха, м3/ч | 120 | 70 | |
| Применяемое топливо | дизельное топливо по ГОСТ 305 | ||
| Номинальное напряжение питания, В | 24 | ||
| Режим запуска и остановки | Ручной | ||
| Масса со всеми комплектующими, кг не более | 8 | ||
| Габариты упаковки, см | 450 х 280 х 350 | ||
Преимущества Планар 44Д-24
Минимальный расход топлива
При работе в режиме минимальной нагрузки расход составляет не более 120 грамм горючего в час. При выборе в пользу режима максимальной производительности уже требуется пол литра топлива. В любом случае, это гораздо меньшие затраты по сравнению с обогревом кабины от функционирующего силового агрегата;
Выбор между мощностью и температурой
В зависимости от личных предпочтений, владелец может выбрать режим максимальной производительности (к примеру, при необходимости оперативно нормализовать температуру внутри кабины), либо остановиться на режиме поддержки заданной температуры. В данном случае техника будет включаться периодически;
Минимальное потребление электрической энергии
Даже тогда, когда двигатель не работает, владелец может не беспокоиться за оперативный разряд аккумуляторной батареи. Модель Планар 44д 12 gp, купить которую можно у нас, расходует не более 60 ватт электроэнергии. Этот показатель соизмерим с одной-двумя небольшими лампочками;
Диагностика в автоматическом режиме
В управляющем блоке постоянно проводится проверка на предмет ошибок. Если неисправность будет обнаружена, система мгновенно укажет код ошибки;
Доступная стоимость
Модель Планар 44Д купить можно минимум в два раза дешевле по сравнению с импортной продукцией, но качество остается одинаковым.
Комплект поставки воздушного отопителя Планар 4ДМ2-24
Комплект поставки воздушного отопителя Планар 4Д-24
Автобус Маркополо и Планар 44Д-24
На автомобиль Marcopolo установлен воздушный отопитель Планар 44Д-24
https://www.youtube.com/watch?v=_ArCXn4HjwcТэги: отопитель Планар, воздушный отопитель, автономный отопитель



